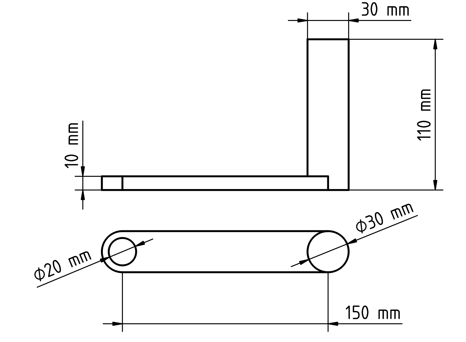
The image below-left shows the dimensions of the pendulum and its protrusion. On the right the initial assembly can be appreciated. The dimensions of the pin and the material properties remain the same as in the Compound Pendulum example.